

The Defense Department doesn't just want silver. It needs it. And not just for solar panels, precision-guided munitions, or the next generation of high-density batteries. It needs silver for something far more kinetic: electromagnetic railguns.
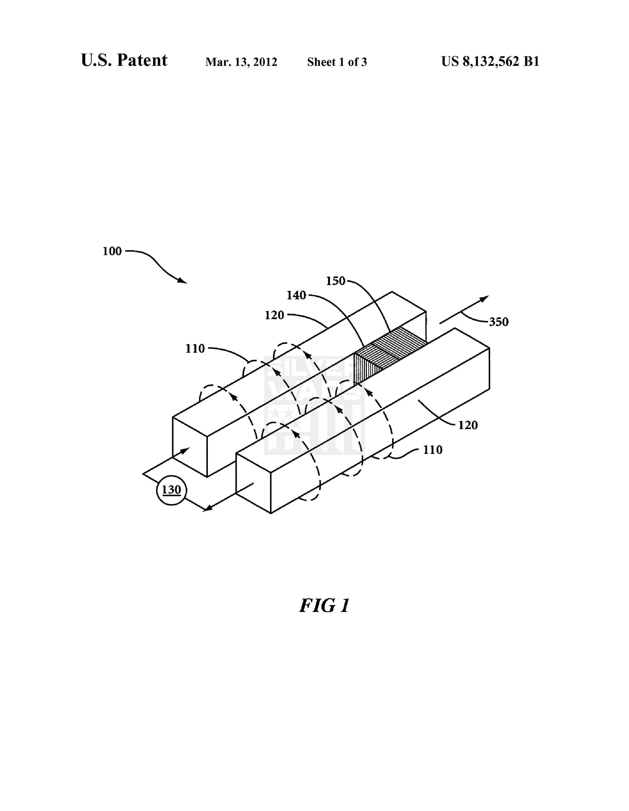
In the shadows of defense contracts and obscure patents lies a startling reality. Silver isn’t just industrial filler anymore. It’s the functional core of one of the most advanced weapon systems ever designed. In a 2012 patent (US8132562B1), we find an electromagnetic railgun armature and rail system that utilizes a combination of carbon-carbon composite structures and silver-based conductors to handle the unprecedented electrical and thermal loads of launching a projectile at Mach speeds.
Why Silver?
Silver's unparalleled conductivity is the reason it sits at the heart of the ILP (Integrated Launch Package) system. When we're talking about firing a metal slug at over 5,000 mph using only electricity, the margin for resistance is microscopic. Copper gets hot, aluminum melts. Silver survives.
| Metal | Cond. (% IACS) | MP (°C) | Railgun Value |
|---|---|---|---|
| Silver | 105 | 961 | High |
| Copper | 100 | 1,085 | Moderate |
| Aluminum | 61 | 660 | Low |



What matters most isn't just raw conductivity, but heat dissipation and system durability. The rails and the armature both face massive wear from not just friction but extreme electric arcing. The 2012 patent goes deep into this. Arcing and ohmic heating destroy most metals at high voltages. Silver's properties extend the lifespan of each shot—and make it reusable.
The ILP and Silver: High-Tech Marriage


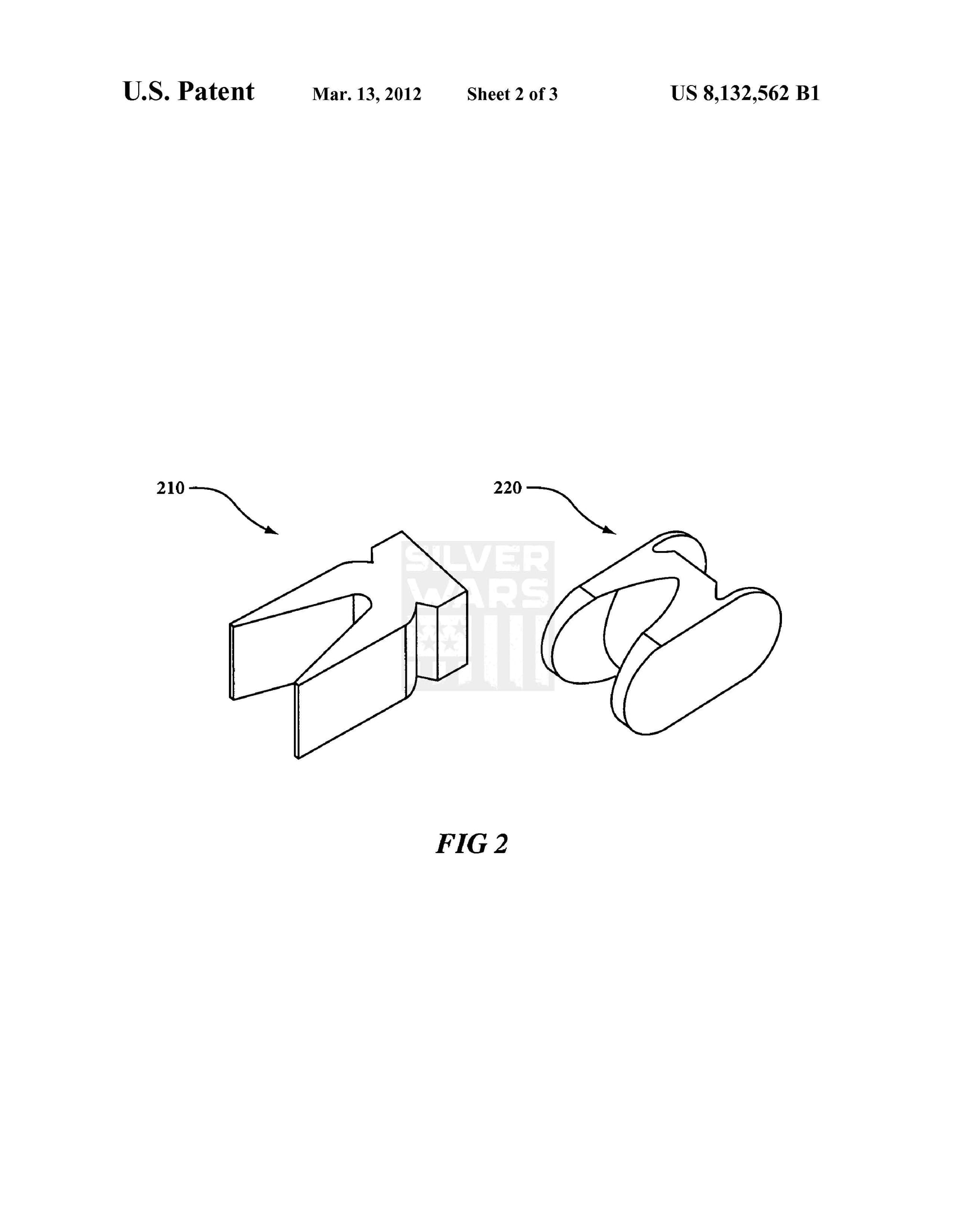
In a typical electromagnetic railgun, an Integrated Launch Package slides between two conductive rails. These rails, often considered sacrificial in older designs, can now be extended in lifespan with carbon-carbon composite layers and silver-alloy wiring. The ILP closes the circuit, acting as both the projectile carrier and conductor. And it's in this ILP where silver wiring and contacts make the difference between a successful launch and a catastrophic misfire.
This goes beyond just wiring. As seen in the parts list accompanying the ILP system, silver cables, busbars, and terminals are common across the build. We're not just talking grams of silver either. We're talking potentially kilograms per launch system:





| Component | Estimated Silver Content (oz) |
| Armature contacts | 8 |
| Rail interfaces | 12 |
| Silver busbars and cables | 40 |
| Control electronics (combined) | 15 |
| Total per unit | ~75 oz (~2.3 kg) |
Multiply that by how many railgun systems the Pentagon wants operational, and we enter a new domain of silver demand—one that's not for jewelry or coins, but death-dealing directed energy weapons.
Silver's Strategic Role in Military Systems


The electromagnetic railgun isn’t a standalone silver consumer. It’s part of a broadening silver-military nexus. Silver is already known for its use in:
- Radiation shielding in satellites
- Circuitry in drones and autonomous combat vehicles
- High-reliability connectors in missile systems
Railguns are just the logical, silver-hungry evolution. And given their promise—cheap kinetic energy projectiles, no explosives, massive range—their deployment will accelerate under the guise of cost efficiency.
But here's the paradox: a cost-efficient weapon requires an increasingly expensive material. Global silver supply is in deficit for the 5th year running. Above-ground inventories are thinning, and industry demand is outpacing mining by hundreds of millions of ounces.
Industrial Silver Shortage? Railguns Will Soak More
As of 2025, ETFs have bled hundreds of millions of ounces to cover industrial needs. The defense sector isn't the loudest buyer, but it's the most secretive. Projects like the Navy's EMRG or the Air Force's directed energy platforms use specialized silver-based systems, but few acknowledge them in public procurement data.
Now forecast a dozen railgun platforms entering production, with 75 ounces per unit minimum. That’s thousands of ounces in just the prototyping phase. Once operational, they'll chew through silver with every firing cycle.
Market Implications: Silver is Not Optional

Silver isn’t a luxury in these systems. It’s a necessity. Without it, the weapon doesn’t work. That changes the nature of the silver market itself. No longer is it only reactive to economic speculation or retail hoarding. It's tethered to national security. And when silver becomes a national defense material? Game over. Strategic hoarding begins. Export bans tighten. Price suppression becomes policy. And retail investors—those holding real metal—become an obstacle.
This isn’t financial advice. This is geopolitical reality.
Silver is being weaponized—both literally and economically. And railguns are just one of the metallic proof.




